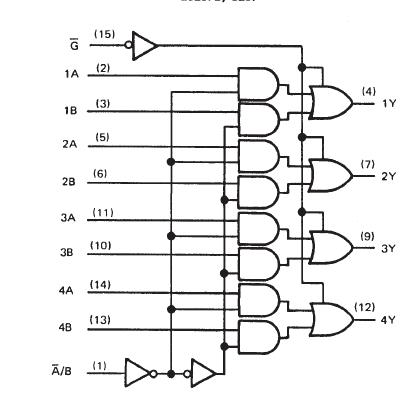
Product Summary
The SN74LS257BNSR is a quadruple 2-line to 1-line data selector/multiplexer. The device of the SN74LS257BNSR is designed to multiplex signals from 4-bit data sources to 4-output data lines in bus organized systems. The 3-state outputs will not load the data lines when the output control pin (G) is at a high logic level.
Parametrics
SN74LS257BNSR absolute maximum ratings: (1)Supply voltage: 7V; (2)Input voltage: 7V; (3)Operating free-air temperature range: 0℃ to 70℃; (4)Storage temperature range: -65℃ to 150℃. (5) Off-state output voltage: 5.5V.
Features
SN74LS257BNSR features: (1)Three-State Outputs interface Directly with System Bus; (2)LS257B and LS258B offer three times the sink-Current Capability of the Original LS257B and LS258B.; (3)Same pin assignments as SN54LS157, SN74LS157, SN54S157 SN74S157, and SN54LS158, SN74LS158, SN54S158 SN74S158.; (4)Provides Bus Interface from Multiple Sources in High-Performance Systems.
Diagrams

| Image | Part No | Mfg | Description | ![]() |
Pricing (USD) |
Quantity | ||||||||||||
|---|---|---|---|---|---|---|---|---|---|---|---|---|---|---|---|---|---|---|
![]() |
![]() SN74LS257BNSR |
![]() Texas Instruments |
![]() Encoders, Decoders, Multiplexers & Demultiplexers Quad 2-to-1 Data Slct/Mltpx W/3St Otp |
![]() Data Sheet |
![]()
|
|
||||||||||||
![]() |
![]() SN74LS257BNSRE4 |
![]() Texas Instruments |
![]() Encoders, Decoders, Multiplexers & Demultiplexers Quad 2-to-1 Data Slct/Mltpx W/3St Otp |
![]() Data Sheet |
![]()
|
|
||||||||||||
![]() |
![]() SN74LS257BNSRG4 |
![]() Texas Instruments |
![]() Encoders, Decoders, Multiplexers & Demultiplexers Dual 4Ln To 1Ln Data Selector Multiplexer |
![]() Data Sheet |
![]()
|
|
||||||||||||
(China (Mainland))









