Product Summary
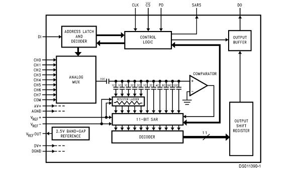
The ADC10738CIWM is a 10-Bit, Plus Sign Serial, I/O A/D Converter. The ADC10738CIWM of CMOS 10-bit plus sign successive approximation A/D converter features versatile analog input multiplexers, sample/hold and a 2.5V band-gap reference. The 1-, 2-, 4-, or 8-channel multiplexers can be software configured for single-ended or differential mode of operation. An input sample/hold of ADC10738CIWM is implemented by a capacitive reference ladder and sampled-data comparator. This allows the analog input to vary during the A/D conversion cycle. The applications of the ADC10738CIWM include Medical instruments, Portable and remote instrumentation, Test equipment.
Parametrics
ADC10738CIWM absolute maximum ratings: (1)Supply Voltage (V+ = AV+ = DV+): 6.5V; (2)Total Reference Voltage (VREF+–VREF-): 6.5V; (3)Voltage at Inputs and Outputs: V+ + 0.3V to -0.3V; (4)Input Current at Any Pin: 30 mA; (5)Package Input Current: 120 mA; (6)Package Dissipation at TA = 25℃: 500 mW; (7)ESD Susceptability, Human Body Model: 2500V; (8)Machine Model: 150V; (9)Soldering Information: 215℃; (10)Storage Temperature: -40℃ to +150℃.
Features
ADC10738CIWM features: (1)0V to 5V analog input range with single 5V power supply; (2)Serial I/O (MICROWIRE compatible); (3)1-, 2-, 4-, or 8-channel differential or single-ended multiplexer; (4)Software or hardware power down; (5)Analog input sample/hold function; (6)Ratiometric or absolute voltage referencing; (7)No zero or full scale adjustment required; (8)No missing codes over temperature; (9)TTL/CMOS input/output compatible; (10)Standard DIP and SO packages.
Diagrams

| Image | Part No | Mfg | Description | ![]() |
Pricing (USD) |
Quantity | ||||||||||||
|---|---|---|---|---|---|---|---|---|---|---|---|---|---|---|---|---|---|---|
![]() |
![]() ADC10738CIWM |
![]() National Semiconductor (TI) |
![]() ADC (A/D Converters) |
![]() Data Sheet |
![]()
|
|
||||||||||||
![]() |
![]() ADC10738CIWM/NOPB |
![]() National Semiconductor (TI) |
![]() ADC (A/D Converters) |
![]() Data Sheet |
![]()
|
|
||||||||||||
![]() |
![]() ADC10738CIWMX/NOPB |
![]() National Semiconductor (TI) |
![]() ADC (A/D Converters) |
![]() Data Sheet |
![]()
|
|
||||||||||||
![]() |
![]() ADC10738CIWMX |
![]() National Semiconductor (TI) |
![]() ADC (A/D Converters) |
![]() Data Sheet |
![]()
|
|
||||||||||||
(China (Mainland))










