Product Summary
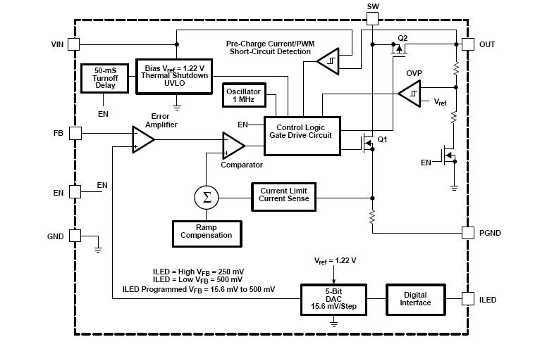
The TPS61060DRB is a constant current led driver with digital and PWM brightness control. For maximum safety, The TPS61060DRB features integrated overvoltage and an advanced short-circuit protection when the output is shorted to ground. The device operates with 1-MHz fixed switching frequency to allow small external components and to simplify possible EMI problems. The device comes with three different overvoltage protection thresholds (14 V/18 V/23 V) to allow inexpensive and small-output capacitors with lower voltage ratings. The LED current is initially set with the external sense resistor Rs, and the feedback voltage is regulated to 500 mV or 250 mV, depending on the ILED pin configuration. Digital brightness control is implemented by applying a simple digital signal to the ILED pin. Alternatively, a PWM signal up to 1 kHz can be applied to the enable pin to control the LED brightness. During shutdown, the output is disconnected from the input to avoid leakage current through the LEDs. The applications of the TPS61060DRB include White LED Driver, Cellular Phones, PDA, Pocket PC, and Smart Phones, Digital Still Camera, Handheld Devices.
Parametrics
TPS61060DRB absolute maximum ratings: (1)VIN Supply voltages on pin: –0.3 V to 7 V; (2)EN, ILED, FB Voltages on pins: –0.3 V to 7 V; (3)OUT Voltage on pin: 33 V; (4)SW Voltage on pin: 33 V; (5)Continuous power dissipation: See Dissipation Rating Table; (6)Operating junction temperature range: –40℃ to 150℃; (7)Storage temperature range: –55℃ to 150℃; (8)Lead temperature (soldering, 10 sec): 260℃.
Features
TPS61060DRB features: (1)LED Driver With Integrated Overvoltage and Short-Circuit Protection; (2)2.7-V to 6.0-V Input Voltage Range; (3)500-mV/250-mV Feedback Voltage; (4)TPS61060 Powers Up to 3 LEDs; (5)PWM Brightness Control on Enable; (6)Digital Brightness Control on ILED; (7)1.0-MHz Fixed Switching Frequency; (8)400-mA Internal Power MOSFET Switch; (9)LEDs Disconnected During Shutdown; (10)Operates With Small-Output Capacitors Down to 220 nF.
Diagrams

| Image | Part No | Mfg | Description | ![]() |
Pricing (USD) |
Quantity | ||||||||||||
|---|---|---|---|---|---|---|---|---|---|---|---|---|---|---|---|---|---|---|
![]() |
![]() TPS61060DRBR |
![]() Texas Instruments |
![]() LED Lighting Drivers 15V 400mA Switch 1MHz Boost Converter |
![]() Data Sheet |
![]()
|
|
||||||||||||
![]() |
![]() TPS61060DRBRG4 |
![]() Texas Instruments |
![]() LED Lighting Drivers 15V 400mA Switch 1MHz Boost Converter |
![]() Data Sheet |
![]()
|
|
||||||||||||
(China (Mainland))









