Product Summary
The TMS32C6713BZDPA200 is a floating-point digital signal processor. It is based on the high-performance, advanced very-long-instruction-word (VLIW) architecture developed by Texas Instruments (TI), making the TMS32C6713BZDPA200 an excellent choice for multichannel and multifunction applications. Operating at 225 MHz, the TMS32C6713BZDPA200 delivers up to 1350 million floating-point operations per second (MFLOPS), 1800 million instructions per second (MIPS), and with dual fixed-/floating-point multipliers up to 450 million multiply-accumulate operations per second (MMACS).
Parametrics
TMS32C6713BZDPA200 absolute maximum ratings: (1)Supply voltage range:-0.3 V to 1.8 V; (2)Supply voltage range:-0.3 V to 4 V; (3)Input voltage range:-0.3 V to DVDD + 0.5 V; (4)Output voltage range:-0.3 V to DVDD + 0.5 V; (5)Storage temperature range:-65℃ to 150℃.
Features
TMS32C6713BZDPA200 features: (1)Highest-Performance Floating-Point Digital Signal Processor (DSP); (2)Advanced Very Long Instruction Word (VLIW) TMS320C67x DSP Core; (3)Instruction Set Features; (4)L1/L2 Memory Architecture; (5)Two 32-Bit General-Purpose Timers; (6)Dedicated GPIO Module With 16 pins(External Interrupt Capable); (7)Flexible Phase-Locked-Loop (PLL) BasedClock Generator Module; (8)IEEE-1149.1 (JTAG) Boundary-Scan-Compatible; (9)208-Pin PowerPAD PQFP (PYP); (10)272-BGA Packages (GDP and ZDP); (11)0.13-μm/6-Level Copper Metal Process - CMOS Technology; (12)3.3-V I/Os, 1.2?V Internal (GDP/ZDP/ PYP); (13)3.3-V I/Os, 1.4-V Internal (GDP/ZDP) [300 MHz].
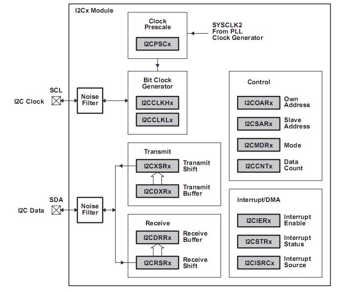
Diagrams

| Image | Part No | Mfg | Description | ![]() |
Pricing (USD) |
Quantity | ||||||||||||
|---|---|---|---|---|---|---|---|---|---|---|---|---|---|---|---|---|---|---|
![]() |
![]() TMS32C6713BZDPA200 |
![]() Texas Instruments |
![]() Digital Signal Processors & Controllers (DSP, DSC) Fixed-Point DSPs TMS320 Platform |
![]() Data Sheet |
![]()
|
|
||||||||||||
| Image | Part No | Mfg | Description | ![]() |
Pricing (USD) |
Quantity | ||||||||||||
![]() |
![]() TMS3112 |
![]() Other |
![]() |
![]() Data Sheet |
![]() Negotiable |
|
||||||||||||
![]() |
![]() TMS3121 |
![]() Other |
![]() |
![]() Data Sheet |
![]() Negotiable |
|
||||||||||||
![]() |
![]() TMS320 |
![]() Other |
![]() |
![]() Data Sheet |
![]() Negotiable |
|
||||||||||||
![]() |
![]() TMS32010 |
![]() Other |
![]() |
![]() Data Sheet |
![]() Negotiable |
|
||||||||||||
![]() |
![]() TMS320AV7110 |
![]() Other |
![]() |
![]() Data Sheet |
![]() Negotiable |
|
||||||||||||
![]() |
![]() TMS320BC51PQ100 |
![]() Texas Instruments |
![]() Digital Signal Processors & Controllers (DSP, DSC) TMS320C51PQ - 132QFP - 100MHZ/BOOT CODE |
![]() Data Sheet |
![]() Negotiable |
|
||||||||||||
(China (Mainland))










