Product Summary
The SN75C1167DBR is a dual differential driver and receiver. The SN75C1167DBR is designed for balanced transmission lines. The devices of the SN75C1167DBR meet TIA/EIA-422-B and ITU recommendation V.11.
Parametrics
SN75C1167DBR absolute maximum ratings: (1)Supply voltage range, VCC: 0.5V to 7V; (2)Input voltage range, VI: 0.5 V to VCC + 0.5 V; (3)Input voltage range, VI: 11 V to 14 V; (4)Differential input voltage range, VID, Receiver: 14 V to 14 V; (5)Output voltage range, VO, Driver: 5 V to 7 V; (6)Clamp current range, IIK or IOK, Driver: ±20 mA; (7)Output current range, IO, Driver: ±150 mA; (8)Supply current, ICC:200 mA; (9)GND current:200 mA; (10)Output current range, IO, Receiver: ±25 mA; (11)Operating virtual junction temperature : 150℃; (12)Package thermal impedance, θJA: DB package 82℃/W; (13)N package: 67℃/W; (14)NS package : 64℃/W; (15)PW package: 108℃/W; (16)Storage temperature range, Tstg: 65℃ to 150℃.
Features
SN75C1167DBR features: (1)Meet or Exceed Standards TIA/EIA-422-B and ITU Recommendation V.11; (2)BiCMOS Process Technology; (3)Low Supply-Current Requirements: 9 mA Max; (4)Low Pulse Skew; (5)Receiver Input Impedance, 17 kΩ Typ; (6)Receiver Input Sensitivity ±200 mV; (7)Receiver Common-Mode Input Voltage Range of -7V to 7V; (8)Operate From Single 5-V Power Supply; (9)Glitch-Free Power-Up/Power-Down Protection; (10)Receiver 3-State Outputs Active-Low Enable for SN65C1167 and SN75C1167 Only; (11)Improved Replacements for the MC34050 and MC34051.
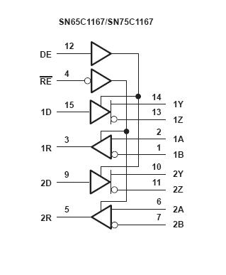
Diagrams

| Image | Part No | Mfg | Description | ![]() |
Pricing (USD) |
Quantity | ||||||||||||
|---|---|---|---|---|---|---|---|---|---|---|---|---|---|---|---|---|---|---|
![]() |
![]() SN75C1167DBR |
![]() Texas Instruments |
![]() Buffers & Line Drivers Dual Diff Drvr |
![]() Data Sheet |
![]()
|
|
||||||||||||
![]() |
![]() SN75C1167DBRE4 |
![]() Texas Instruments |
![]() RS-422 Interface IC Dual Diff Drvr |
![]() Data Sheet |
![]()
|
|
||||||||||||
![]() |
![]() SN75C1167DBRG4 |
![]() Texas Instruments |
![]() RS-422 Interface IC Dual Differential Drivers and Receiver |
![]() Data Sheet |
![]()
|
|
||||||||||||
(China (Mainland))









