Product Summary
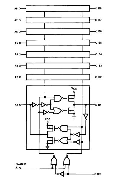
The MM74HCT245WMX 3-STATE bi-directional buffer utilizes advanced silicon-gate CMOS technology and is intended for two-way asynchronous communication between data buses. It has high drive current outputs which enable high speed operation even when driving large bus capacitances. This circuit of MM74HCT245WMX possesses the low power consumption of CMOS circuitry, yet has speeds comparable to low power Schottky TTL circuits. The MM74HCT245WMX is TTL input compatible and can drive up to 15 LS-TTL loads, and all inputs are protected from damage due to static discharge by diodes to VCC and ground.
Parametrics
MM74HCT245WMX absolute maximum ratings: (1)Supply Voltage (VCC): -0.5 to +7.0V; (2)DC Input Voltage (VIN): -1.5 to VCC +1.5V; (3)DC Output Voltage (VOUT): -0.5 to VCC +0.5V; (4)Clamp Diode Current (IIK, IOK): ±20 mA; (5)DC Output Current: ±35 mA; (6)DC VCC or GND Current, per pin (ICC): ±70 mA; (7)Storage Temperature Range (TSTG): -65℃ to +150℃; (8)Power Dissipation (PD): 600 mW; (9)S.O. Package only: 500 mW; (10)Lead Temperature (TL) (Soldering 10 seconds): 260℃.
Features
MM74HCT245WMX features: (1)TTL input compatible; (2)3-STATE outputs for connection to system busses; (3)High output drive current: 6 mA (min); (4)High speed: 16 ns typical propagation delay; (5)Low power: 80 PA (74HCT Series).
Diagrams

| Image | Part No | Mfg | Description | ![]() |
Pricing (USD) |
Quantity | ||||||||||||
|---|---|---|---|---|---|---|---|---|---|---|---|---|---|---|---|---|---|---|
![]() |
![]() MM74HCT245WM |
![]() Fairchild Semiconductor |
![]() Bus Transceivers Octal 3-STATE Trans |
![]() Data Sheet |
![]()
|
|
||||||||||||
![]() |
![]() MM74HCT245WM_Q |
![]() Fairchild Semiconductor |
![]() Bus Transceivers Octal 3-STATE Trans |
![]() Data Sheet |
![]() Negotiable |
|
||||||||||||
![]() |
![]() MM74HCT245WMX |
![]() Fairchild Semiconductor |
![]() Bus Transceivers Octal 3-STATE Trans |
![]() Data Sheet |
![]()
|
|
||||||||||||
(China (Mainland))









