Product Summary
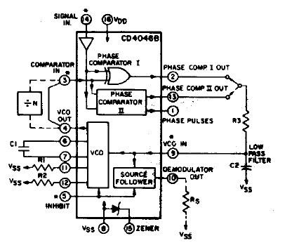
The CD4046BE is a CMOS Micropower Phase-Locked Loop (PLL). It consists of a low-power, linear voltage-controlled oscillator (VCO) and two different phase comparators having a common signal-input amplifier and a common comparator input. The applications of the CD4046BE include: (1)FM demodulator and modulator; (2)Frequency synthesis and multiplication; (3)Frequency discriminator; (4)Data synchronization; (5)Voltage-to-frequency conversion; (6)Tone decoding; (7)FSK - Modems; (8)Signal conditioning; (9)RCA COS/MOS Phase-Locked Loop - A Versatile Building Block for Micropower Digital and Analog Applications.
Parametrics
CD4046BE absolute maximum ratings: (1)DC Supply-voltage range(VDD)voltage referenced to VSS terminal: -0.5V to +20V; (2)Input voltage range, all inputs: -0.5V to VDO +0.5V; (3)DC input current, any one input: ±10mA; (4)Power dissipation per package(PO): for TA=-55℃ to 100℃: 500mW; for TA=+100℃ to +125℃: derate linearity at 12mW/℃ to 200mW; (5)Operating-temperature range(TA): -55℃ to +125℃; (6)Storage temperature range(Tstg): -85℃ to +150℃.
Features
CD4046BE features: (1)Very low power consumption: 70 μW (typ.) at VCO f0 = 10 kHz, VDD = 5 V; (2)Operating frequency range up to 1.4 MHz (typ.) at VDD = 10 V; (3)Low frequency drift: 0.04%/℃ (typ.) at VDD = 10 V; (4)Choice of two phase comparators: Exclusive-OR network; Edge-controlled memory network with phase-pulse output for lock indication; (5)High VCO linearity: <1% (typ.) at VDD = 10 V; (6)VCO inhibit control for ON-OFF keying and ultra-low standby power consumption; (7)Source-follower output of VCO control input (Demod. output).
Diagrams

| Image | Part No | Mfg | Description | ![]() |
Pricing (USD) |
Quantity | ||||||||||||
|---|---|---|---|---|---|---|---|---|---|---|---|---|---|---|---|---|---|---|
![]() |
![]() CD4046BE |
![]() Texas Instruments |
![]() Phase Locked Loops (PLL) Micropower PLL |
![]() Data Sheet |
![]()
|
|
||||||||||||
![]() |
![]() CD4046BEE4 |
![]() Texas Instruments |
![]() Phase Locked Loops (PLL) Micropower PLL |
![]() Data Sheet |
![]()
|
|
||||||||||||
(China (Mainland))









