Product Summary
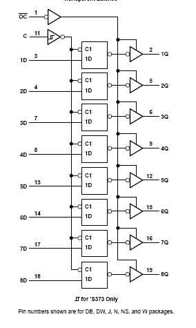
The SN74LS373DWR is an octal d-type transparent latch and edge-triggered flip-flop. The SN74LS373DWR features 3-state outputs designed specifically for driving highly capacitive or relatively low-impedance loads. The high-impedance 3-state and increased high-logic-level drive provide these registers with the capability of being connected directly to and driving the bus lines in a bus-organized system without need for interface or pull up components. The SN74LS373DWR is particularly attractive for implementing buffer registers, I/O ports, bidirectional bus drivers, and working registers.
Parametrics
SN74LS373DWR absolute maximum ratings: (1)Supply voltage, VCC: 7 V; (2)Input voltage, VI: 7 V; (3)Off-state output voltage: 5.5 V; (4)Package thermal impedance, θJA: DB package: 70℃/W; (5)DW package: 58℃/W; (6)N package: 69℃/W; (7)NS package: 60℃/W; (8)Storage temperature range, Tstg: –65℃ to 150℃.
Features
SN74LS373DWR features: (1)Choice of Eight Latches or Eight D-Type Flip-Flops in a Single Package; (2)3-State Bus-Driving Outputs; (3)Full Parallel Access for Loading; (4)Buffered Control Inputs; (5)Clock-Enable Input Has Hysteresis to Improve Noise Rejection; (6)P-N-P Inputs Reduce DC Loading on Data Lines.
Diagrams

| Image | Part No | Mfg | Description | ![]() |
Pricing (USD) |
Quantity | ||||||||||||
|---|---|---|---|---|---|---|---|---|---|---|---|---|---|---|---|---|---|---|
![]() |
![]() SN74LS373DWR |
![]() Texas Instruments |
![]() Latches Octal D Type Transp Latch |
![]() Data Sheet |
![]()
|
|
||||||||||||
![]() |
![]() SN74LS373DWRE4 |
![]() Texas Instruments |
![]() Latches Octal D Type Transp Latch |
![]() Data Sheet |
![]()
|
|
||||||||||||
![]() |
![]() SN74LS373DWRG4 |
![]() Texas Instruments |
![]() Latches Octal D Type Transp Latch |
![]() Data Sheet |
![]()
|
|
||||||||||||
(China (Mainland))









