Product Summary
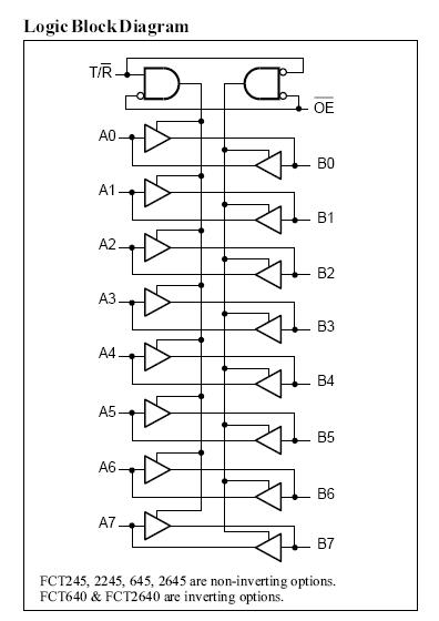
The PI74FCT245TSA is a fast CMOS octal bidirectional transceiver. The PI74FCT245TSA is produced using the Company’s advanced 0.6/0.8 micron CMOS technology, achieving industry leading speed grades. The PI74FCT245TSA has a built-in 25 Ohm series resistor on all outputs to reduce noise because of reflections, thus eliminating the need for an external terminating resistor.
Parametrics
PI74FCT245TSA absolute maximum ratings: (1)Storage Temperature: 65℃ to +150℃; (2)Ambient Temperature with Power Applied: 40℃ to +85℃; (3)Supply Voltage to Ground Potential (Inputs and VCC Only): 0.5V to +7.0V; (4) Supply Voltage to Ground Potential (Outputs and D/O Only):0.5V to +7.0V; (5) DC Input Voltage: 0.5V to +7.0V; (6) DC Output Current: 120mA; (7) Power Dissipation: 0.5W.
Features
PI74FCT245TSA features: (1) PI74FCT245/640/645T and PI74FCT2245/2640T/2645T are pin compatible with bipolar FAST. Series at a higher speed and lower power consumption; (2)25 Ohm series resistor on all outputs (FCT2XXX only); (3)TTL input and output levels; (4)Low ground bounce outputs; (5)Extremely low static power; (6)Hysteresis on all inputs; (7)Industrial operating temperature range: -40℃ to +85℃; (8)Device models available on request.
Diagrams

![]() |
![]() PI74ALVC162834 |
![]() Other |
![]() |
![]() Data Sheet |
![]() Negotiable |
|
||||
![]() |
![]() PI74ALVC162834F |
![]() Other |
![]() |
![]() Data Sheet |
![]() Negotiable |
|
||||
![]() |
![]() PI74ALVC162834FD |
![]() Other |
![]() |
![]() Data Sheet |
![]() Negotiable |
|
||||
![]() |
![]() PI74ALVC162835 |
![]() Other |
![]() |
![]() Data Sheet |
![]() Negotiable |
|
||||
![]() |
![]() PI74ALVC162835F |
![]() Other |
![]() |
![]() Data Sheet |
![]() Negotiable |
|
||||
![]() |
![]() PI74ALVC162835FD |
![]() Other |
![]() |
![]() Data Sheet |
![]() Negotiable |
|
||||
(China (Mainland))








