Product Summary
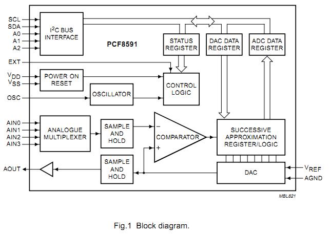
The PCF8591T is a single-chip, single-supply low power 8-bit CMOS data acquisition device with four analog inputs, one analog output and a serial I2C-bus interface. Three address pins A0, A1 and A2 are used for programming the hardware address, allowing the use of up to eight devices connected to the I2C-bus without additional hardware. Address, control and data to and from the PCF8591T are transferred serially via the two-line bidirectional I2C-bus. The functions of the PCF8591T include analog input multiplexing, on-chip track and hold function, 8-bit analog-to-digital conversion and an 8-bit digital-to-analog conversion. The maximum conversion rate is given by the maximum speed of the I2C-bus. The applications of the PCF8591T include Closed loop control systems, Low power converter for remote data acquisition, Battery operated equipment, Acquisition of analog values in automotive, audio and TV applications.
Parametrics
PCF8591T absolute maximum ratings: (1)VDD, supply voltage (pin 16): -0.5 to +8.0 V; (2)VI, input voltage (any input): -0.5 to VDD + 0.5 V; (3)II, DC input current: ±10 mA; (4)IO, DC output current: ±20 mA; (5)IDD, ISS, VDD or VSS current: ±50 mA; (6)Ptot, total power dissipation per package: 300 mW; (7)PO, power dissipation per output: 100 mW; (8)Tamb, operating ambient temperature: -40 to +85℃; (9)Tstg, storage temperature: -65 to +150℃.
Features
PCF8591T features: (1)Single power supply; (2)Operating supply voltage 2.5 V to 6 V; (3)Low standby current; (4)Serial input/output via I2C-bus; (5)Address by 3 hardware address pins; (6)Sampling rate given by I2C-bus speed; (7)4 analog inputs programmable as single-ended or differential inputs; (8)Auto-incremented channel selection; (9)Analog voltage range from VSS to VDD; (10)On-chip track and hold circuit; (11)8-bit successive approximation A/D conversion; (12)Multiplying DAC with one analog output.
Diagrams

| Image | Part No | Mfg | Description | ![]() |
Pricing (USD) |
Quantity | ||||||||||||
|---|---|---|---|---|---|---|---|---|---|---|---|---|---|---|---|---|---|---|
![]() |
![]() PCF8591T/2,512 |
![]() NXP Semiconductors |
![]() ADC (A/D Converters) ADC/DAC 8-BIT I2C |
![]() Data Sheet |
![]()
|
|
||||||||||||
![]() |
![]() PCF8591T/2,518 |
![]() NXP Semiconductors |
![]() Audio A/D Converter ICs 8 BIT ADC/DAC I2C |
![]() Data Sheet |
![]()
|
|
||||||||||||
(China (Mainland))









