Product Summary
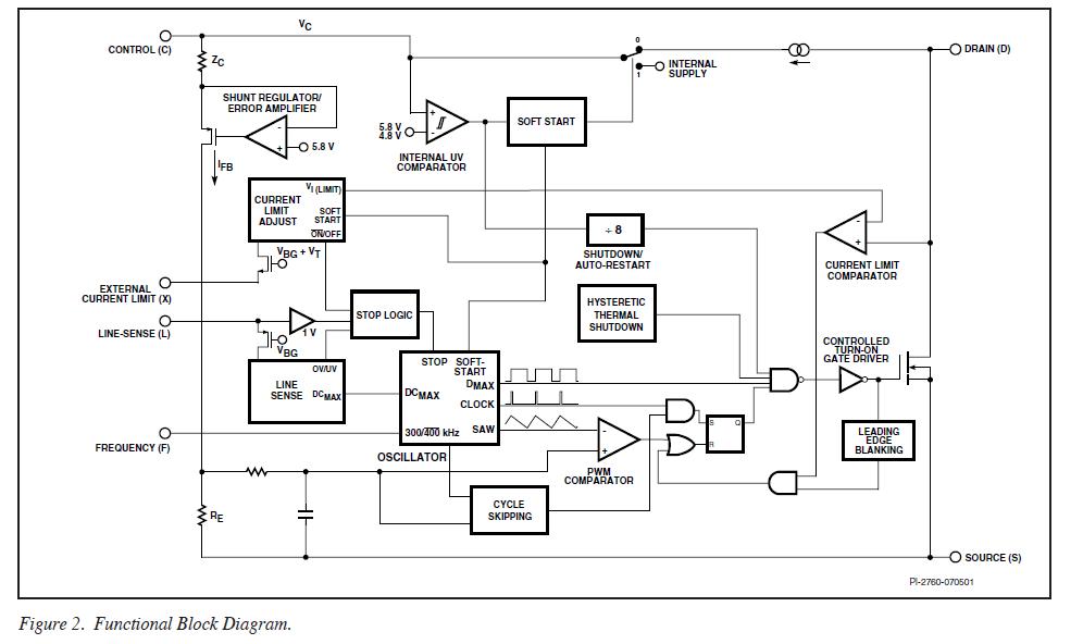
The DPA423R is a DPA-Switch IC. The DPA423R is a highly integrated solution for DC-DC conversion applications for 16-75 VDC input. The DPA423R uses the same proven topology as TOPSwitch, cost effectively integrating a power MOSFET, PWM control, fault protection and other control circuitry onto a single CMOS chip. High performance features are enabled with three user configurable pins. Hysteretic thermal shutdown is also provided.
Parametrics
DPA423R absolute maximum ratings: (1)DRAIN Voltage: -0.3 V to 220 V; (2)DRAIN Peak Current:1.75 A; (3)CONTROL Voltage: -0.3 V to 9 V; (4)CONTROL Current: 100 mA; (5)LINE SENSE Pin Voltage: -0.3 V to 9 V; (6)EXTERNAL CURRENT LIMIT Pin Voltage: -0.3 V to 9 V; (7)FREQUENCY Pin Voltage: -0.3 V to 9 V; (8)Storage Temperature: -65 to 150℃; (9)Operating Junction Temperature: -40 to 150℃; (10)Lead Temperature: 260℃.
Features
DPA423R features: (1)A fully integrated 5 ms soft-start limits peak currents and voltages during start-up and reduces or eliminates output overshoot in most applications; (2)A 75% maximum duty cycle (DCMAX) together with the line feed-forward with DCMAX reduction feature makes DPA-Switch well suited for both flyback and forward topologies; (3)High switching frequency (400 kHz/300 kHz, pin selectable) allows the use of smaller size transformers and offers high bandwidth for power supply control loop; (4)Cycle skipping operation at light load minimizes standby power consumption (typically <10 mA input current); (5)Line under-voltage ensures glitch free operations at both power-up and power-down and is tightly toleranced over process and temperature to meet system level requirements common in DC to DC converters (e.g. ETSI); (6)Line overvoltage protects DPA-Switch against excessive input voltage and line surge; (7)External current limit adjustment allows the setting of the current limit externally to a lower level near the operating peak current and, if desired, further adjusts the level gradually as line voltage rises. This makes possible an ideal implementation of overload power limiting; (8)Synchronization function allows the synchronization of DPA-Switch operation to an external lower frequency; (9)Remote ON/OFF feature permits DPA-Switch based power supplies to be easily switched on/off using logic signals Maximum input current consumption is 2 mA in remote OFF; (10)Hysteretic over-temperature shutdown provides automatic recovery from thermal fault.
Diagrams

| Image | Part No | Mfg | Description | ![]() |
Pricing (USD) |
Quantity | ||||||||||||
|---|---|---|---|---|---|---|---|---|---|---|---|---|---|---|---|---|---|---|
![]() |
![]() DPA423R |
![]() Power Integrations |
![]() Switching Converters, Regulators & Controllers 18W 36-75V DCIN |
![]() Data Sheet |
![]() Negotiable |
|
||||||||||||
![]() |
![]() DPA423R-TL |
![]() Power Integrations |
![]() Switching Converters, Regulators & Controllers 18W 36-75V DCIN |
![]() Data Sheet |
![]()
|
|
||||||||||||
(China (Mainland))









