Product Summary
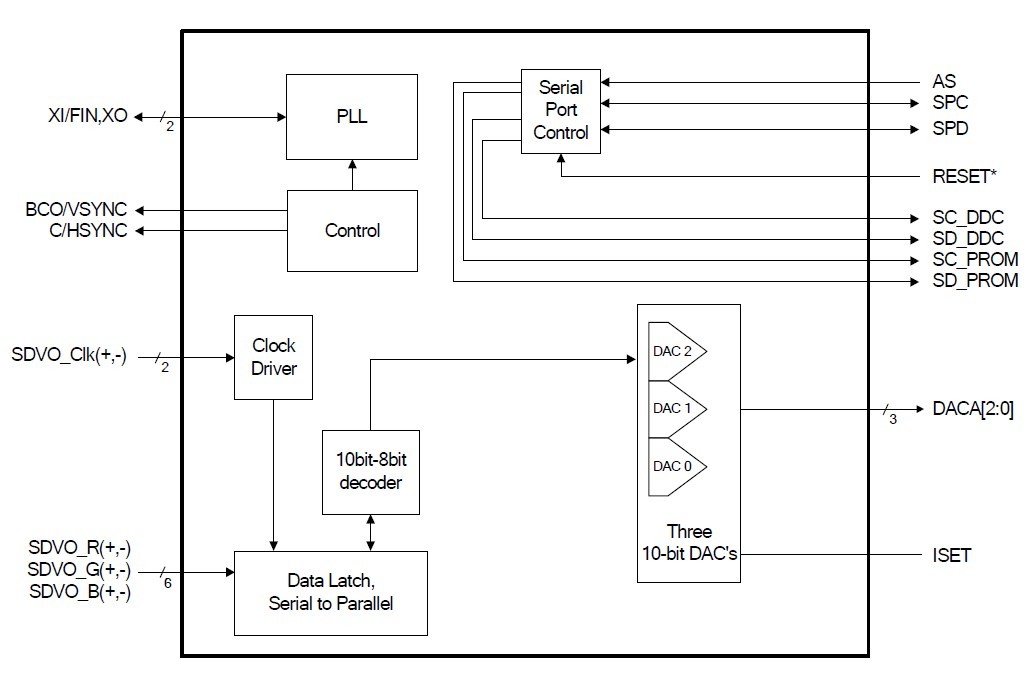
The CH7317A-TF is a Display Controller device which accepts a digital graphics high speed AC coupled serial differential RGB input signal, and encodes and transmits data through analog RGB port. The CH7317A-TF accepts one channel of RGB data over three pairs of serial data ports.
Parametrics
CH7317A-TF absolute maxing ratings: (1)All 2.5V power supplies relative to GND: min=-0.5V, max=3.0V; (2)All 3.3V power supplies relative to GND: min=-0.5V, max=3.0V; (3)TSC Analog output short circuit duration: Indefinite Sec; (4)TAMB Ambient operating temperature: min=-20℃, max=85℃; (5)TSTOR Storage temperature: min=-65℃, max=150℃; (6)TJ Junction temperature: max=150℃; (7)TVPS Vapor phase soldering (5 second): max=260℃.
Features
CH7317A-TF features: (1)High-speed SDVO (1G~2Gbps) AC-coupled serial differential RGB inputs; (2)Support for VGA RGB bypass; (3)Output Analog RGB.; (4)Three 10-bit video DAC outputs; (5)DAC output CRT RGB connector; (6)Fully programmable through serial port; (7)Programmable power management; (8)Configuration through Intel SDVO OpCode; (9)Complete Windows driver support; (10)Offered in 64-pin LQFP and 64-pin QFN package.
Diagrams

![]() |
![]() CH7301A |
![]() Other |
![]() |
![]() Data Sheet |
![]() Negotiable |
|
||||
![]() |
![]() CH7303 |
![]() Other |
![]() |
![]() Data Sheet |
![]() Negotiable |
|
||||
![]() |
![]() CH7307C-DEF |
![]() Other |
![]() |
![]() Data Sheet |
![]() Negotiable |
|
||||
(China (Mainland))








