Product Summary
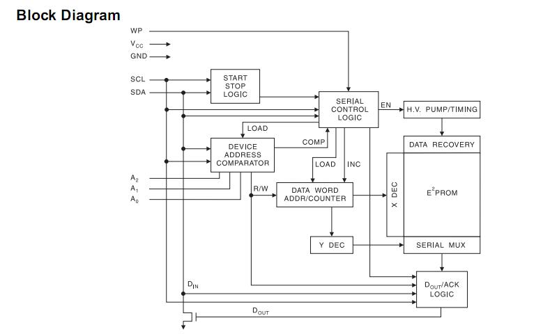
The AT24C64-10SI-2.7 is a 2-Wire Serial EEPROM. It provides 32,768/65,536 bits of serial electrically erasable and programmable read only memory (EEPROM) organized as 4096/8192 words of 8 bits each. The AT24C64-10SI-2.7 is optimized for use in many industrial and commercial applications where low power and low voltage operation are essential. The AT24C64-10SI-2.7 is available in space saving 8-pin JEDEC PDIP, 8-pin and 14-pin JEDEC SOIC, 8-pin EIAJ SOIC, and 8-pin TSSOP packages and is accessed via a 2-wire serial interface. In addition, the entire family is available in 5.0V (4.5V to 5.5V), 2.7V (2.7V to 5.5V), 2.5V (2.5V to 5.5V) and 1.8V(1.8V to 5.5V) versions.
Parametrics
AT24C64-10SI-2.7 absolute maximum ratings: (1)Operating Temperature:-55℃ to +125℃; (2)Storage Temperature:-65℃ to +150℃; (3)Voltage on Any Pin with Respect to Ground:-1.0V to +7.0V; (4)Maximum Operating Voltage:6.25V; (5)DC Output Current:5.0 mA.
Features
AT24C64-10SI-2.7 features: (1)Low-Voltage and Standard-Voltage Operation:5.0 (VCC = 4.5V to 5.5V),2.7 (VCC = 2.7V to 5.5V),2.5 (VCC = 2.5V to 5.5V),1.8 (VCC = 1.8V to 5.5V); (2)Low-Power Devices (ISB = 2μA @ 5.5V) Available; (3)Internally Organized 4096 x 8, 8192 x 8; (4)2-Wire Serial Interface; (5)Schmitt Trigger, Filtered Inputs for Noise Suppression; (6)Bidirectional Data Transfer Protocol ; (7)100 kHz (1.8V, 2.5V, 2.7V) and 400 kHz (5V) Compatibility ; (8)Write Protect Pin for Hardware Data Protection; (9)32-Byte Page Write Mode (Partial Page Writes Allowed); (10)Self-Timed Write Cycle (10 ms max); (11)High Reliability:Endurance: 1 Million Write Cycles, Data Retention: 100 Years, ESD Protection: >3,000V; (12)Automotive Grade and Extended Temperature Devices Available; (13)8-Pin JEDEC PDIP, 8-Pin and 14-Pin JEDEC SOIC, 8-Pin EIAJ SOIC, and 8-pin TSSOP Packages.
Diagrams

![]() |
![]() AT24C |
![]() Other |
![]() |
![]() Data Sheet |
![]() Negotiable |
|
||||
![]() |
![]() AT24C01 |
![]() Other |
![]() |
![]() Data Sheet |
![]() Negotiable |
|
||||
![]() |
![]() AT24C01-10PC |
![]() Atmel |
![]() IC SEEPROM 1K 8DIP |
![]() Data Sheet |
![]() Negotiable |
|
||||
![]() |
![]() AT24C01-10PC-1.8 |
![]() Atmel |
![]() IC SEEPROM 1K 1.8V 8DIP |
![]() Data Sheet |
![]() Negotiable |
|
||||
![]() |
![]() AT24C01-10PC-2.5 |
![]() Atmel |
![]() IC SEEPROM 1K 2.5V 8DIP |
![]() Data Sheet |
![]() Negotiable |
|
||||
![]() |
![]() AT24C01-10PC-2.7 |
![]() Atmel |
![]() IC SEEPROM 1K 2.7V 8DIP |
![]() Data Sheet |
![]() Negotiable |
|
||||
(China (Mainland))









