Product Summary
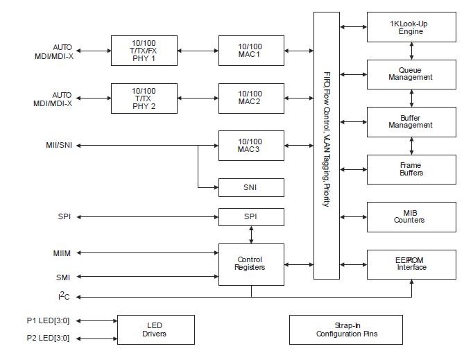
The KSZ8993 is a highly integrated Layer 2 managed switch. It is designed for low port count, cost-sensitive 10/100 Mbps switch systems. The KSZ8993 offers an extensive feature set that includes tag/port-based VLAN, quality of service (QoS) priority, management, management information base (MIB) counters, MII/SNI, and CPU control/data interfaces to effectively address both current and emerging Fast Ethernet applications. The applications of the KSZ8993 include Broadband gateway / Firewall / VPN, Integrated DSL or cable modem multi-port router, Wireless LAN access point + gateway, Residential and enterprise VoIP gateway/phone, Set-top/game box.
Parametrics
KSZ8993 absolute maximum ratings: (1)Supply Storage: -55℃ to 150℃; (2)Supply Voltage: VDDA, VDDAP, VDDC: –0.5V to 2.4V, VDDATX, VDDARX, VDDIO: –0.5V to 4.0V; (3)Input Voltage (all inputs): –0.5V to 4.0V; (4)Output Voltage (all outputs): –0.5V to 4.0V; (5)Lead Temperature (soldering, 10 sec): N/A; (6)Storage Temperature (Ts) N/A: -55℃ to 150℃.
Features
KSZ8993 features: (1)Proven Integrated 3-Port 10/100 Ethernet Switch: 2nd generation switch with three MACs and two PHYs fully compliant to IEEE 802.3u standard, Non-blocking switch fabric assures fast packet delivery by utilizing a 1K MAC address lookup table and a store-and-forward architecture; (2)Comprehensive Configuration Register Access: Serial management interface (SMI) to all internal registers, MII management (MIIM) interface to PHY registers; (3)QoS/CoS Packet Prioritization Support: Per port, 802.1p and DiffServ-based, Re-mapping of 802.1p priority field per port basis.
Diagrams

| Image | Part No | Mfg | Description | ![]() |
Pricing (USD) |
Quantity | ||||||||||||||
|---|---|---|---|---|---|---|---|---|---|---|---|---|---|---|---|---|---|---|---|---|
![]() |
![]() KSZ8993 |
![]() |
![]() IC SWITCH 10/100 3PORT 128PQFP |
![]() Data Sheet |
![]()
|
|
||||||||||||||
![]() |
![]() KSZ8993-EVAL |
![]() |
![]() BOARD EVALUATION FOR KSZ8993 |
![]() Data Sheet |
![]() Negotiable |
|
||||||||||||||
![]() |
![]() KSZ8993FL |
![]() |
![]() IC CONV MED 10/100 SGL 128PQFP |
![]() Data Sheet |
![]()
|
|
||||||||||||||
![]() |
![]() KSZ8993F |
![]() |
![]() IC CONV MED 10/100 3PORT 128PQFP |
![]() Data Sheet |
![]()
|
|
||||||||||||||
![]() |
![]() KSZ8993F-A1 |
![]() |
![]() IC CONV MED 10/100 3PORT 128PQFP |
![]() Data Sheet |
![]() Negotiable |
|
||||||||||||||
![]() |
![]() KSZ8993F-EVAL |
![]() |
![]() BOARD EVALUATION FOR KSZ8993F |
![]() Data Sheet |
![]() Negotiable |
|
||||||||||||||
![]() |
![]() KSZ8993I |
![]() |
![]() IC SWITCH 10/100 3PORT 128PQFP |
![]() Data Sheet |
![]()
|
|
||||||||||||||
![]() |
![]() KSZ8993M |
![]() |
![]() IC SWITCH 10/100 3PORT 128PQFP |
![]() Data Sheet |
![]()
|
|
||||||||||||||
(China (Mainland))










